Tại Việt Nam, với tỷ lệ sở hữu phương tiện cá nhân cao, việc tìm kiếm một diện tích để xe máy phù hợp và an toàn đang trở thành một vấn đề cấp thiết. Bài viết này sẽ đi sâu vào các quy định và tiêu chuẩn thiết kế bãi đỗ xe hai bánh, giúp bạn hiểu rõ hơn về không gian cần thiết để đảm bảo sự thuận tiện và an ninh cho phương tiện của mình.

Tầm quan trọng của việc quy hoạch không gian đỗ xe hai bánh

Sự gia tăng nhanh chóng của số lượng xe máy tại các đô thị lớn đã kéo theo nhu cầu về bãi giữ xe máy cũng tăng lên đáng kể. Trung bình cứ hai người dân sẽ sở hữu một chiếc xe máy, điều này tạo ra áp lực lớn lên hạ tầng giao thông và không gian công cộng. Tình trạng thiếu chỗ đậu xe không chỉ gây mất mỹ quan đô thị mà còn tiềm ẩn nhiều rủi ro về an toàn tài sản.

Việc quy hoạch diện tích để xe máy hợp lý tại các khu chung cư, cao ốc văn phòng hay các cơ sở thương mại là yếu tố then chốt để duy trì trật tự và an toàn. Khi không có khu vực đỗ xe được chỉ định, người dân thường tự ý dựng xe trên hành lang, vỉa hè hoặc khu vực nội bộ, điều này cản trở lối đi chung và tạo điều kiện cho các vụ mất cắp xảy ra. Do đó, việc tuân thủ các tiêu chuẩn thiết kế là điều bắt buộc.

Bãi đỗ xe máy có tổ chức với các vạch kẻ rõ ràngBãi đỗ xe máy có tổ chức với các vạch kẻ rõ ràng

Những quy định cơ bản về không gian đậu xe máy chuẩn

Theo các quy chuẩn xây dựng hiện hành tại Việt Nam, việc bố trí khu vực dành cho xe hai bánh phải tuân thủ các yêu cầu nghiêm ngặt để đảm bảo tính logic và an toàn. Một trong những tiêu chí quan trọng nhất là diện tích để xe máy tối thiểu cần được tính toán cẩn thận, dao động trong khoảng từ 2.5 đến 3 mét vuông cho mỗi chiếc xe.

Ngoài ra, các quy định còn nhấn mạnh rằng việc bố trí phương tiện không được chắn ngang lối đi, hành lang hoặc lối ra vào. Cần tránh xa các nguồn nhiệt dễ gây cháy nổ như khu vực đun nấu hoặc gần các thiết bị điện không an toàn. Việc phân chia khu vực cho từng chiếc xe bằng vạch kẻ rõ ràng giúp việc quản lý dễ dàng hơn và giảm thiểu va chạm giữa các phương tiện khi di chuyển.

Việc trang bị đầy đủ các hệ thống phòng cháy chữa cháy (PCCC) và thường xuyên kiểm tra chúng là yêu cầu bắt buộc. Lượng xăng dầu tích tụ trong một bãi đỗ xe đông đúc đòi hỏi sự chuẩn bị kỹ lưỡng để sẵn sàng ứng phó với mọi sự cố hỏa hoạn có thể xảy ra.

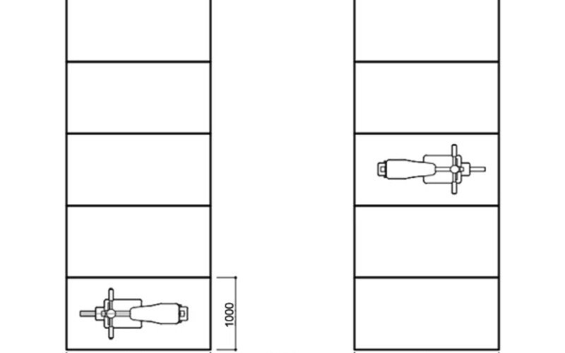
Kích thước trung bình của các dòng xe hai bánh phổ biến

Kích thước vật lý của các dòng xe máy khác nhau ảnh hưởng trực tiếp đến việc tính toán diện tích để xe máy trong một không gian nhất định. Mặc dù đa số các mẫu xe phổ thông như Honda, Yamaha hay Suzuki có kích thước tương đương nhau về chiều dài và chiều rộng cơ bản, việc xác định kích thước tổng thể của từng dòng xe giúp đơn vị thiết kế có thể tối ưu hóa số lượng chỗ đỗ.

Ví dụ, các mẫu xe tay ga thường có phần thân sau lớn hơn so với xe số phổ thông, điều này cần được xem xét khi sắp xếp chúng trong bãi đỗ. Việc nắm rõ kích thước thực tế của những dòng xe bán chạy nhất trên thị trường sẽ giúp việc phân bổ không gian trở nên hiệu quả hơn, tránh tình trạng xe đỗ quá chật chội gây khó khăn khi lấy xe.

Bãi đỗ xe máy dành cho xe Honda được bố trí khoa họcBãi đỗ xe máy dành cho xe Honda được bố trí khoa học

Trong khi đó, việc tính toán không gian đỗ xe cho các thương hiệu khác như Yamaha hay Suzuki cũng cần tuân theo các tiêu chuẩn chung, đảm bảo mỗi phương tiện đều có đủ không gian tối thiểu để người điều khiển có thể lên xuống và di chuyển mà không va chạm với xe bên cạnh.

Quy hoạch khu vực đỗ xe YamahaQuy hoạch khu vực đỗ xe Yamaha

Bố trí bãi đỗ xe cho xe Suzuki theo tiêu chuẩnBố trí bãi đỗ xe cho xe Suzuki theo tiêu chuẩn

Tiêu chuẩn thiết kế và mật độ đỗ xe theo quy chuẩn xây dựng

Quy chuẩn kỹ thuật quốc gia về diện tích bãi đỗ xe (QCVN 07/2010) là tài liệu tham khảo quan trọng nhất định hướng cho việc thiết kế các khu vực giữ xe. Các quy định này yêu cầu các bãi đỗ xe phải được thiết kế hợp lý, không chỉ đáp ứng nhu cầu hiện tại mà còn tính toán đến sự thuận tiện và an toàn cho người sử dụng.

Đối với các khu vực dân cư và thương mại, mật độ phương tiện cần được tính toán dựa trên tổng diện tích sử dụng. Ví dụ, tại các khu văn phòng hoặc khách sạn, cứ 100 mét vuông diện tích sử dụng thì cần có một tỷ lệ nhất định dành cho chỗ để xe máy, thường quy đổi ra khoảng 3 mét vuông cho mỗi xe. Việc tính toán này đảm bảo rằng dù lượng khách hoặc nhân viên đông, vẫn có đủ chỗ cho tất cả các phương tiện.

Ngoài ra, khi thiết kế các công trình nhà ở, dù là chung cư thương mại hay nhà ở xã hội, đều phải dành ra một diện tích đậu xe cố định trên mỗi đơn vị ở. Mức độ yêu cầu này có thể khác nhau, nhưng mục tiêu chung là tránh tình trạng người dân phải gửi xe hoặc đỗ xe tràn lan ngoài phạm vi quy định.

Xác định diện tích dành cho bãi đỗ xe trong các loại hình công trình

Việc xác định diện tích để xe máy không giống nhau cho mọi loại hình công trình, nó phụ thuộc vào chức năng và lưu lượng người sử dụng. Ví dụ, tại các siêu thị hoặc trung tâm hội nghị, nơi có lưu lượng người ra vào lớn trong thời gian ngắn, mật độ chỗ đỗ xe cần cao hơn so với khu vực văn phòng hoạt động giờ hành chính.

Đối với các căn hộ thương mại, tiêu chuẩn thường khắt khe hơn, đòi hỏi ít nhất 20 mét vuông không gian đỗ xe trên 100 mét vuông diện tích sử dụng, bao gồm cả đường nội bộ có thể dùng làm gara tạm thời. Trong khi đó, các khu nhà ở xã hội có thể có yêu cầu thấp hơn một chút, khoảng 12 mét vuông trên 100 mét vuông diện tích sử dụng, nhưng vẫn phải đảm bảo không gian cho xe đạp và xe máy.

Bố trí khu vực đỗ xe máy hợp lý trong tổng thể bãi đỗ xeBố trí khu vực đỗ xe máy hợp lý trong tổng thể bãi đỗ xe

Việc tính toán chính xác kích thước bãi đỗ xe máy theo tiêu chuẩn hiện hành không chỉ là tuân thủ pháp luật mà còn là yếu tố quyết định đến chất lượng không gian sống và làm việc. Xe Thanh Bình Xanh luôn khuyến khích việc áp dụng đúng các tiêu chuẩn này để tạo ra môi trường đô thị văn minh và an toàn hơn cho người tham gia giao thông.

FAQs về diện tích để xe máy

Diện tích để xe máy tiêu chuẩn tối thiểu cho một xe là bao nhiêu?
Theo quy định chung, diện tích để xe máy tối thiểu được khuyến nghị dao động từ 2.5m2 đến 3m2 cho mỗi phương tiện.

Tại sao việc quy hoạch bãi đỗ xe lại quan trọng tại các khu chung cư?
Việc quy hoạch giúp tránh tình trạng phương tiện đỗ lộn xộn trên lối đi, đảm bảo an toàn giao thông nội bộ và giảm nguy cơ mất cắp tài sản.

Các quy định về không gian đỗ xe có áp dụng như nhau cho xe máy và ô tô không?
Không, quy định về diện tích để xe máy và ô tô là khác nhau. Xe máy cần ít không gian hơn nhưng số lượng lại lớn hơn nhiều, đòi hỏi cách bố trí khác biệt.

Việc đỗ xe máy trên hành lang có bị cấm không?
Tuyệt đối bị cấm. Hành lang là lối thoát hiểm và lối đi chung, việc đỗ xe tại đây gây cản trở và mất an toàn cháy nổ.

Các tiêu chuẩn thiết kế bãi đỗ xe được quy định trong văn bản pháp luật nào?
Các tiêu chuẩn này chủ yếu được quy định trong Quy chuẩn kỹ thuật quốc gia QCVN 07/2010 về chỗ đỗ xe và diện tích đỗ xe.

Làm thế nào để tối ưu hóa diện tích khi thiết kế bãi đỗ xe máy?
Tối ưu hóa bằng cách sử dụng các vạch kẻ rõ ràng, sắp xếp xe theo góc nghiêng hợp lý (nếu cho phép) và đảm bảo đủ không gian lưu thông tối thiểu.

Khu vực đỗ xe có cần trang bị hệ thống phòng cháy chữa cháy không?
Có, do lượng nhiên liệu lớn tập trung, hệ thống PCCC đầy đủ và thường xuyên được kiểm tra là yêu cầu bắt buộc đối với bất kỳ bãi giữ xe máy quy mô nào.

Diện tích đỗ xe tại nhà ở xã hội có khác biệt so với nhà ở thương mại không?
Có sự khác biệt. Thông thường, nhà ở xã hội có thể có yêu cầu về diện tích để xe máy trên mỗi căn hộ thấp hơn so với các khu thương mại hoặc chung cư cao cấp.

Việc phân chia khu vực cho từng xe máy có ý nghĩa gì?
Việc phân chia rõ ràng bằng vạch kẻ giúp người sử dụng dễ dàng tìm chỗ đỗ, lấy xe ra vào thuận tiện và duy trì trật tự chung của bãi đỗ.

Nếu không tuân thủ tiêu chuẩn diện tích đỗ xe thì sẽ gặp rủi ro gì?
Rủi ro bao gồm: quá tải chỗ đỗ, gây ùn tắc cục bộ, khó khăn trong việc quản lý an ninh và tăng nguy cơ cháy nổ do không gian quá chật hẹp.

Mục nhập này đã được đăng trong Xe Máy. Đánh dấu trang permalink.